đ Beschreibung der Röhre: 2HMD Inventarnummer: 00090
| Name | â 2HMD |
| Vergleichsname | |
| Hersteller | â Loewe Radio |
| Heizspannung (Volt) | 4 |
| Heizstrom (AmpĂšre) | 1,5 |
| Art der Heizung | Indirekt |
| Röhren mit Sockel | â Informationen zum Sockel: Europa, 5pol. â Liste aller Röhren mit: Europa, 5pol. |
| Informationen Röhrentyp | |
| Informationen | |
| Kenn Nummer | |
| Ătz- Produktionscode | |
| Serien Nummer | 71656 |
| Verpackung | Originalverpackung, Passend zur Röhrennummer |
| Getestet | Heizfaden ok |
| Hoheitszeichen | |
| Letzte Ănderung | |
| Lager | S129 |
đ Beschreibung der Systeme fĂŒr die Röhre: 2HMD
| System 1 | System 2 | |
| Kathode | 5 | 5 |
| Gitter 1 | Kappe | 4 |
| Gitter 2 | ||
| Gitter 3 | ||
| Gitter 4 | ||
| Gitter 5 | ||
| Gitter 6 | ||
| Gitter 7 | ||
| Anode 1 | Seitenschraube 1 | Seitenschraube 2 |
| Anode 2 | ||
| Leuchtschirm | ||
| Heizung | 1, 3 | 1, 3 |
| Abschirmung | ||
| Funktion | â Oszillator / Modulator |
â Oszillator / Modulator |
Hinweis: Beachten Sie bitte das bei der Benennung und ZÀhlreihenfolge der Stifte, in der Literatur oder DatenblÀtter, je nach Hersteller teilweise unterschiedliche Angaben gemacht werden.
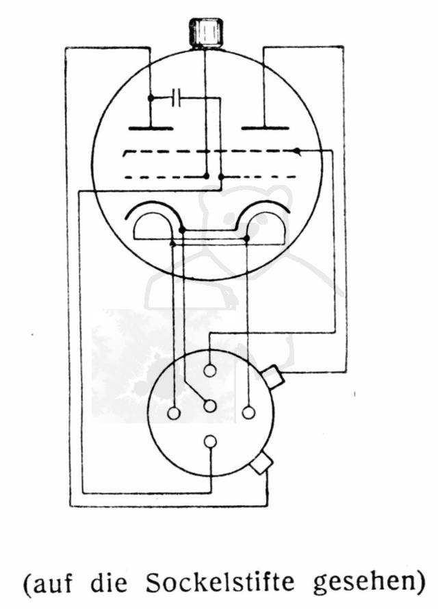
đ Sockelschaltung der 2HMD

Bildquelle: Zeichnung Gerhard Eisenbarth
đ DatenblĂ€tter zur Röhre: 2HMD
Kurzdatenblatt 2HMD Loewe.pdf (1157 kB)Hinweis:Alle DatenblĂ€tter (PDF-Dateien) die nicht von mir selbst eingescannt wurden, stammen aus öffentlichen, nichtkommerziellen Quellen. Sollte ein Problem existieren bitte ich um direkte RĂŒcksprache đš Probleme mit einem Datenblatt klĂ€ren
đ Bilder der Röhre: 2HMD

Röhre 2HMD #0090 Bild 1

Röhre 2HMD #0090 Röntgenbild Bild 1

Röhre 2HMD #0090 Röntgenbild Bild 2

Röhre 2HMD #0090 Röntgenbild Bild 3

Röhre 2HMD #0090 Bild 2

Röhre 2HMD #0090 Bild 3

Röhre 2HMD #0090 Bild 4

Röhre 2HMD #0090 Bild 5

Röhre 2HMD #0090 Bild 6

Röhre 2HMD #0090 Bild 7

Röhre 2HMD #0090 Bild 8

Röhre 2HMD #0090 Bild 9

Röhre 2HMD #0090 Bild 10

Röhre 2HMD #0090 Bild 11

Röhre 2HMD #0090 Bild 12

Röhre 2HMD #0090 Verpackung Bild 1

Röhre 2HMD #0090 Verpackung Bild 2

Röhre 2HMD #0090 Verpackung Bild 3

Röhre 2HMD #0090 Verpackung Bild 4

Röhre 2HMD #0090 Verpackung Bild 5

Röhre 2HMD #0090 Verpackung Bild 6

Röhre 2HMD #0090 Verpackung Bild 7

Röhre 2HMD #0090 Verpackung Bild 8

Röhre 2HMD #0090 Verpackung Bild 9
