đ Beschreibung der Röhre: 2C39BA
Name | 2C39BA |
Vergleichsname | TD1-100C |
Heizspannung (Volt) | 6 |
Heizstrom (AmpĂšre) | 1 |
Art der Heizung | Halb-Indirekt |
Röhren mit Sockel | â Informationen zum Sockel: Spezialsockel â Liste aller Röhren mit: Spezialsockel |
ZusÀtzliche Informationen | Vorheizzeit vor anlegen der Anodenspannung: 1 Minute |
Letzte Ănderung | 16.08.2016 02:37:20 |
đ Beschreibung der Systeme fĂŒr die Röhre: 2C39BA
System 1 | |
Kathode | k, f |
Gitter 1 | g |
Gitter 2 | |
Gitter 3 | |
Gitter 4 | |
Gitter 5 | |
Gitter 6 | |
Gitter 7 | |
Anode 1 | a |
Anode 2 | |
Leuchtschirm | |
Heizung | k, f und f |
Abschirmung | |
Funktion | â Senderoehre, Triode |
Hinweis: Beachten Sie bitte das bei der Benennung und ZÀhlreihenfolge der Stifte, in der Literatur oder DatenblÀtter, je nach Hersteller teilweise unterschiedliche Angaben gemacht werden.
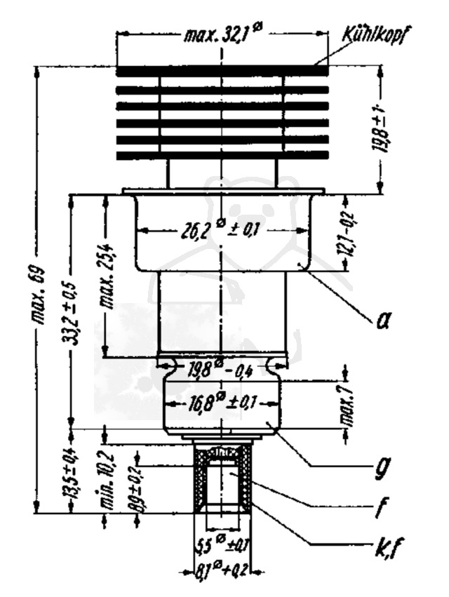
đ Sockelschaltung der 2C39BA

Bildquelle: Telefunken Datenblatt
đ DatenblĂ€tter zur Röhre: 2C39BA











Hinweis:Alle DatenblĂ€tter (PDF-Dateien) die nicht von mir selbst eingescannt wurden, stammen aus öffentlichen, nichtkommerziellen Quellen. Sollte ein Problem existieren bitte ich um direkte RĂŒcksprache đš Probleme mit einem Datenblatt klĂ€ren
đ Bilder der Röhre: 2C39BA

Röhre 2C39BA #3236 Bild 1

Röhre 2C39BA #3236 Bild 2

Röhre 2C39BA #4416 Bild 3

Röhre 2C39BA #4416 Bild 1

Röhre 2C39BA #4416 Bild 2

Röhre 2C39BA #3236 Bild 3

Röhre 2C39BA #4416 Bild 4

Röhre 2C39BA #4416 Bild 5

Röhre 2C39BA #4416 Bild 6

Röhre 2C39BA #4416 Verpackung Bild 1

Röhre 2C39BA #4416 Verpackung Bild 2

Röhre 2C39BA #3235 Bild 1

Röhre 2C39BA #3235 Bild 2

Röhre 2C39BA #3235 Bild 3

Röhre 2C39BA #3235 Bild 4

Röhre 2C39BA #3235 Bild 5

Röhre 2C39BA #3235 Bild 6

Röhre 2C39BA #3235 Bild 7

Röhre 2C39BA #3236 Bild 1

Röhre 2C39BA #3236 Bild 2

Röhre 2C39BA #3236 Bild 3

Röhre 2C39BA #3236 Bild 4

Röhre 2C39BA #3236 Bild 5

Röhre 2C39BA #3237 Bild 1

Röhre 2C39BA #3237 Bild 2

Röhre 2C39BA #3237 Bild 3

Röhre 2C39BA #3237 Bild 4
đ Alle Röhren vom Typ 2C39BA in der Sammlung
- â 2C39BA Inventar: 03235 Hersteller: â Telefunken
- â 2C39BA Inventar: 03236 Hersteller: â Valvo
- â 2C39BA Inventar: 03237 Hersteller: â Valvo
- â 2C39BA Inventar: 04416 Hersteller: â Telefunken