đ Beschreibung der Röhre: LG4
| Name | LG4 |
| Vergleichsname | |
| Heizspannung (Volt) | 12,6 |
| Heizstrom (AmpĂšre) | 0,53 |
| Art der Heizung | Indirekt |
| Röhren mit Sockel | Spezialsockel, Deutsche Wehrmacht â Liste aller Röhren mit: Spezialsockel, Deutsche Wehrmacht |
| ZusÀtzliche Informationen | |
| Letzte Ănderung | 06.04.2023 17:12:39 |
đ Beschreibung der Systeme fĂŒr die Röhre: LG4
| System 1 | System 2 | |
| Kathode | Kappe | Kappe |
| Gitter 1 | ||
| Gitter 2 | ||
| Gitter 3 | ||
| Gitter 4 | ||
| Gitter 5 | ||
| Gitter 6 | ||
| Gitter 7 | ||
| Anode 1 | a1 | a2 |
| Anode 2 | ||
| Leuchtschirm | ||
| Heizung | h, h | h, h |
| Abschirmung | ||
| Funktion | â Diode, Tastimpulsbegrenzung |
â Diode, Allgemein |
Hinweis: Beachten Sie bitte das bei der Benennung und ZÀhlreihenfolge der Stifte, in der Literatur oder DatenblÀtter, je nach Hersteller teilweise unterschiedliche Angaben gemacht werden.
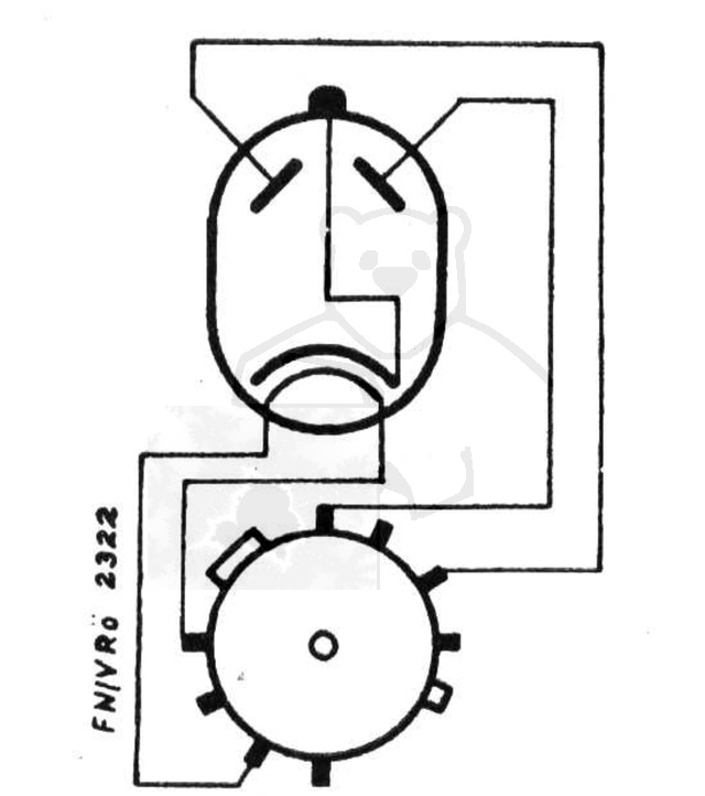
đ Sockelschaltung der LG4

Bildquelle: Telefunken Datenblatt
đ DatenblĂ€tter zur Röhre: LG4
Datenblatt LG4 Telefunken.pdf (2543 kB)Hinweis:Alle DatenblĂ€tter (PDF-Dateien) die nicht von mir selbst eingescannt wurden, stammen aus öffentlichen, nichtkommerziellen Quellen. Sollte ein Problem existieren bitte ich um direkte RĂŒcksprache đš Probleme mit einem Datenblatt klĂ€ren
đ Bilder der Röhre: LG4

Röhre LG4 #4687 Bild 1

Röhre LG4 #4687 Bild 2

Röhre LG4 #4687 Bild 3

Röhre LG4 #4687 Bild 4

Röhre LG4 #4687 Bild 5

Röhre LG4 #4687 Bild 6

Röhre LG4 #4687 Fassung Bild 1

Röhre LG4 #4687 Fassung Bild 2

Röhre LG4 #4687 Fassung Bild 3

Röhre LG4 #4687 Fassung Bild 4

Röhre LG4 #4687 Fassung Bild 5

Röhre LG4 #4687 Fassung Bild 6

Röhre LG4 #4687 Fassung Bild 7

Röhre LG4 #4687 Fassung Bild 8

Röhre LG4 #4687 Fassung Bild 9

Röhre LG4 #4687 Fassung Bild 10

Röhre LG4 #4687 Fassung Bild 11

Röhre LG4 #4687 Fassung Bild 12

Röhre LG4 #7870 Bild 1

Röhre LG4 #7870 Bild 2

Röhre LG4 #7870 Bild 3

Röhre LG4 #7870 Bild 4

Röhre LG4 #7870 Bild 5

Röhre LG4 #7870 Bild 6

Röhre LG4 #7870 Bild 7

Röhre LG4 #7870 Bild 8

Röhre LG4 #7870 Bild 9

Röhre LG4 #7870 Bild 10

Röhre LG4 #7870 Bild 11

Röhre LG4 #7870 Bild 12

Röhre LG4 #7870 Bild 13

Röhre LG4 #7870 Bild 14

Röhre LG4 #7870 Bild 15

Röhre LG4 #7870 Bild 16

Röhre LG4 #7870 Bild 17

Röhre LG4 #7870 Bild 18

Röhre LG4 #7870 Bild 19

Röhre LG4 #7870 Bild 20

Röhre LG4 #7870 Bild 21
đ Alle Röhren vom Typ LG4 in der Sammlung
- â LG4 Inventar: 04687 Hersteller: â Telefunken
- â LG4 Inventar: 07870 Hersteller: â Telefunken
