đ Beschreibung der Röhre: QB5/1750
Name | QB5/1750 |
Vergleichsname | 6079 |
Heizspannung (Volt) | 10 |
Heizstrom (AmpĂšre) | 9,9 |
Art der Heizung | Direkt |
Röhren mit Sockel | â Informationen zum Sockel: USA, Super Giant, 5pol. â Liste aller Röhren mit: USA, Super Giant, 5pol. |
ZusÀtzliche Informationen | |
Letzte Ănderung | 11.06.2018 15:01:48 |
đ Beschreibung der Systeme fĂŒr die Röhre: QB5/1750
System 1 | |
Kathode | k |
Gitter 1 | g1 |
Gitter 2 | g2 |
Gitter 3 | |
Gitter 4 | |
Gitter 5 | |
Gitter 6 | |
Gitter 7 | |
Anode 1 | Kappe |
Anode 2 | |
Leuchtschirm | |
Heizung | f, f |
Abschirmung | |
Funktion | â Senderoehre, Tetrode |
Hinweis: Beachten Sie bitte das bei der Benennung und ZÀhlreihenfolge der Stifte, in der Literatur oder DatenblÀtter, je nach Hersteller teilweise unterschiedliche Angaben gemacht werden.
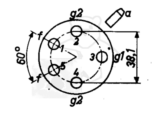
đ Sockelschaltung der QB5/1750

Bildquelle: Valvo Datenblatt
đ DatenblĂ€tter zur Röhre: QB5/1750


Hinweis:Alle DatenblĂ€tter (PDF-Dateien) die nicht von mir selbst eingescannt wurden, stammen aus öffentlichen, nichtkommerziellen Quellen. Sollte ein Problem existieren bitte ich um direkte RĂŒcksprache đš Probleme mit einem Datenblatt klĂ€ren
đ Bilder der Röhre: QB5/1750

Röhre QB5-1750 #6874 Bild 1

Röhre QB5-1750 #6874 Bild 2

Röhre QB5-1750 #6874 Bild 3

Röhre QB5-1750 #6874 Bild 4

Röhre QB5-1750 #6874 Bild 5

Röhre QB5-1750 #6874 Bild 6

Röhre QB5-1750 #6874 Bild 7

Röhre QB5-1750 #6874 Bild 8

Röhre QB5-1750 #6874 Bild 9

Röhre QB5-1750 #6874 Bild 10
đ Alle Röhren vom Typ QB5/1750 in der Sammlung
- â QB5/1750 Inventar: 06874 Hersteller: â Valvo