đ Beschreibung der Röhre: TS41DK
Name | TS41DK |
Vergleichsname | |
Heizspannung (Volt) | 10,5 |
Heizstrom (AmpĂšre) | 11 |
Art der Heizung | Direkt |
Röhren mit Sockel | â Informationen zum Sockel: Telefunkensockel, 3pol. (3 Buchsen) â Liste aller Röhren mit: Telefunkensockel, 3pol. (3 Buchsen) |
ZusĂ€tzliche Informationen | Dies ist die vom WF-Werk produzierte Variante TS41DK, diese verfĂŒgt ĂŒber eine massive Anode aus Graphit. Die zuerst von AEG/GEMA produzierte Variante verfĂŒgt jedoch nur ĂŒber eine graphitierte Anode aus Eisenblech und wurde als â TS41 bezeichnet. |
Letzte Ănderung | 08.02.2023 13:11:25 |
đ Beschreibung der Systeme fĂŒr die Röhre: TS41DK
System 1 | |
Kathode | f |
Gitter 1 | Seitenanschluss |
Gitter 2 | |
Gitter 3 | |
Gitter 4 | |
Gitter 5 | |
Gitter 6 | |
Gitter 7 | |
Anode 1 | Kappe |
Anode 2 | |
Leuchtschirm | |
Heizung | f, f |
Abschirmung | |
Funktion | â Senderoehre, Triode |
Hinweis: Beachten Sie bitte das bei der Benennung und ZÀhlreihenfolge der Stifte, in der Literatur oder DatenblÀtter, je nach Hersteller teilweise unterschiedliche Angaben gemacht werden.
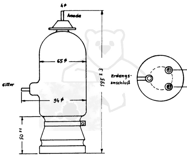
đ Sockelschaltung der TS41DK

Bildquelle: Gema Datenblatt
đ DatenblĂ€tter zur Röhre: TS41DK


Hinweis:Alle DatenblĂ€tter (PDF-Dateien) die nicht von mir selbst eingescannt wurden, stammen aus öffentlichen, nichtkommerziellen Quellen. Sollte ein Problem existieren bitte ich um direkte RĂŒcksprache đš Probleme mit einem Datenblatt klĂ€ren
đ Bilder der Röhre: TS41DK

Röhre TS41DK #6673 Bild 1

Röhre TS41DK #6673 Bild 2

Röhre TS41DK #6673 Bild 3

Röhre TS41DK #6673 Bild 4

Röhre TS41DK #6673 Bild 5

Röhre TS41DK #6673 Bild 6

Röhre TS41DK #6673 Bild 7

Röhre TS41DK #6673 Bild 8

Röhre TS41DK #6673 Bild 9

Röhre TS41DK #6673 Bild 10

Röhre TS41DK #6673 Bild 11

Röhre TS41DK #6673 Bild 12

Röhre TS41DK #6673 Bild 13

Röhre TS41DK #6673 Bild 14

Röhre TS41DK #6673 Bild 15

Röhre TS41DK #6673 Bild 16

Röhre TS41DK #6673 Bild 17

Röhre TS41DK #6673 Bild 18

Röhre TS41DK #6673 Bild 19

Röhre TS41DK #6673 Bild 20

Röhre TS41DK #6673 Bild 21

Röhre TS41DK #6673 Bild 22

Röhre TS41DK #6673 Bild 23

Röhre TS41DK #6673 Bild 24

Röhre TS41DK #6673 Bild 25

Röhre TS41DK #6673 Bild 26

Röhre TS41DK #6673 Bild 27

Röhre TS41DK #6673 Bild 28

Röhre TS41DK #6673 Bild 29

Röhre TS41DK #6673 Bild 30

Röhre TS41DK #6673 Bild 31
đ Alle Röhren vom Typ TS41DK in der Sammlung
- â TS41DK Inventar: 06673 Hersteller: â WF