đ Beschreibung der Röhre: 6AV6
Name | 6AV6 |
Vergleichsname | â EBC91 |
Heizspannung (Volt) | 6,3 |
Heizstrom (AmpĂšre) | 0,3 |
Art der Heizung | Indirekt |
Röhren mit Sockel | â Informationen zum Sockel: Miniatur, 7pol. â Liste aller Röhren mit: Miniatur, 7pol. |
ZusÀtzliche Informationen | |
Letzte Ănderung | 05.06.2018 19:19:35 |
đ Beschreibung der Systeme fĂŒr die Röhre: 6AV6
System 1 | System 2 | |
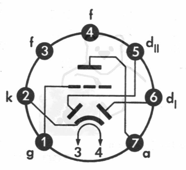
Kathode | 2 | 2 |
Gitter 1 | 1 | |
Gitter 2 | ||
Gitter 3 | ||
Gitter 4 | ||
Gitter 5 | ||
Gitter 6 | ||
Gitter 7 | ||
Anode 1 | 7 | 6 |
Anode 2 | 5 | |
Leuchtschirm | ||
Heizung | 3, 4 | 3, 4 |
Abschirmung | ||
Funktion | â Niederfrequenzverstaerker, Triode |
â Demodulator |
Hinweis: Beachten Sie bitte das bei der Benennung und ZÀhlreihenfolge der Stifte, in der Literatur oder DatenblÀtter, je nach Hersteller teilweise unterschiedliche Angaben gemacht werden.
đ Sockelschaltung der 6AV6

Bildquelle: Telefunken Datenblatt
đ DatenblĂ€tter zur Röhre: 6AV6






Hinweis:Alle DatenblĂ€tter (PDF-Dateien) die nicht von mir selbst eingescannt wurden, stammen aus öffentlichen, nichtkommerziellen Quellen. Sollte ein Problem existieren bitte ich um direkte RĂŒcksprache đš Probleme mit einem Datenblatt klĂ€ren
đ Bilder der Röhre: 6AV6

Röhre 6AV6 #7970 Bild 1

Röhre 6AV6 #7970 Bild 2

Röhre 6AV6 #7970 Bild 3

Röhre 6AV6 #7970 Bild 4

Röhre 6AV6 #7970 Bild 5

Röhre 6AV6 #7970 Bild 6

Röhre 6AV6 #7970 Bild 7

Röhre 6AV6 #7970 Bild 8

Röhre 6AV6 #7970 Bild 9

Röhre 6AV6 #7970 Bild 10

Röhre 6AV6 #7970 Bild 11

Röhre 6AV6 #7970 Bild 12

Röhre 6AV6 #2518 Bild 1
đ Alle Röhren vom Typ 6AV6 in der Sammlung
- â 6AV6 Inventar: 02481 Hersteller: â Telefunken (Mit Raute im Boden)
- â 6AV6 Inventar: 02489 Hersteller: â Telefunken (Mit Raute im Boden)
- â 6AV6 Inventar: 02518 Hersteller: â Telefunken
- â 6AV6 Inventar: 07970 Hersteller: â Radiotron (Australia)