🔎 Beschreibung der Röhre: EBC91
Name | EBC91 |
Vergleichsname | → 6AV6 |
Heizspannung (Volt) | 6,3 |
Heizstrom (Ampère) | 0,3 |
Art der Heizung | Indirekt |
Röhren mit Sockel | → Informationen zum Sockel: Miniatur, 7pol. → Liste aller Röhren mit: Miniatur, 7pol. |
Zusätzliche Informationen | |
Letzte Änderung | 18.03.2016 19:57:09 |
🔎 Beschreibung der Systeme für die Röhre: EBC91
System 1 | System 2 | |
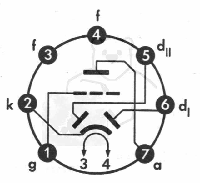
Kathode | 2 | 2 |
Gitter 1 | 1 | |
Gitter 2 | ||
Gitter 3 | ||
Gitter 4 | ||
Gitter 5 | ||
Gitter 6 | ||
Gitter 7 | ||
Anode 1 | 7 | 6 |
Anode 2 | 5 | |
Leuchtschirm | ||
Heizung | 3, 4 | 3, 4 |
Abschirmung | ||
Funktion | → Niederfrequenzverstaerker, Triode |
→ Demodulator |
Hinweis: Beachten Sie bitte das bei der Benennung und Zählreihenfolge der Stifte, in der Literatur oder Datenblätter, je nach Hersteller teilweise unterschiedliche Angaben gemacht werden.
🔎 Sockelschaltung der EBC91

Bildquelle: Telefunken Datenblatt
🔎 Datenblätter zur Röhre: EBC91







Hinweis:Alle Datenblätter (PDF-Dateien) die nicht von mir selbst eingescannt wurden, stammen aus öffentlichen, nichtkommerziellen Quellen. Sollte ein Problem existieren bitte ich um direkte Rücksprache 📨 Probleme mit einem Datenblatt klären
🔎 Bilder der Röhre: EBC91

Röhre EBC91 #3371 Bild 1

Röhre EBC91 #3371 Bild 2

Röhre EBC91 #3371 Bild 3

Röhre EBC91 #3371 Bild 4

Röhre EBC91 #3371 Verpackung Bild 1

Röhre EBC91 #3371 Verpackung Bild 2

Röhre EBC91 #3371 Verpackung Bild 3

Röhre EBC91 #3371 Verpackung Bild 4

Röhre EBC91 #2519 Bild 1

Röhre EBC91 #2502 Bild 1
🔎 Alle Röhren vom Typ EBC91 in der Sammlung
- → EBC91 Inventar: 02474 Hersteller: → Siemens
- → EBC91 Inventar: 02475 Hersteller: → Siemens
- → EBC91 Inventar: 02476 Hersteller: → Siemens
- → EBC91 Inventar: 02482 Hersteller: → Telefunken (Mit Raute im Boden)
- → EBC91 Inventar: 02502 Hersteller: → Valvo
- → EBC91 Inventar: 02504 Hersteller: → Siemens
- → EBC91 Inventar: 02507 Hersteller: → Siemens
- → EBC91 Inventar: 02508 Hersteller: → Siemens
- → EBC91 Inventar: 02517 Hersteller: → Siemens
- → EBC91 Inventar: 02519 Hersteller: → Siemens
- → EBC91 Inventar: 02520 Hersteller: → Siemens
- → EBC91 Inventar: 02521 Hersteller: → Siemens
- → EBC91 Inventar: 03371 Hersteller: → Telefunken