đ Beschreibung der Röhre: RL2,4P2
| Name | RL2,4P2 |
| Vergleichsname | |
| Heizspannung (Volt) | 2,4 |
| Heizstrom (AmpĂšre) | 0,16 |
| Art der Heizung | Direkt |
| Röhren mit Sockel | Spezialsockel, Deutsche Wehrmacht â Liste aller Röhren mit: Spezialsockel, Deutsche Wehrmacht |
| ZusÀtzliche Informationen | |
| Letzte Ănderung | 11.06.2018 17:25:41 |
đ Beschreibung der Systeme fĂŒr die Röhre: RL2,4P2
| System 1 | |
| Kathode | f |
| Gitter 1 | Kappe |
| Gitter 2 | g2 |
| Gitter 3 | g3 |
| Gitter 4 | |
| Gitter 5 | |
| Gitter 6 | |
| Gitter 7 | |
| Anode 1 | a |
| Anode 2 | |
| Leuchtschirm | |
| Heizung | f, f |
| Abschirmung | |
| Funktion | â Hochfrequenzverstaerker, Pentode |
Hinweis: Beachten Sie bitte das bei der Benennung und ZÀhlreihenfolge der Stifte, in der Literatur oder DatenblÀtter, je nach Hersteller teilweise unterschiedliche Angaben gemacht werden.
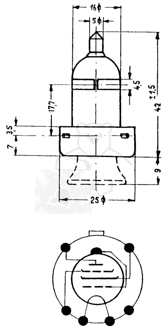
đ Sockelschaltung der RL2,4P2

Bildquelle: Lorenz Datenblatt
đ DatenblĂ€tter zur Röhre: RL2,4P2
Datenblatt RL2,4P2 Lorenz [www.tubedata.info].pdf (244 kB)Hinweis:Alle DatenblĂ€tter (PDF-Dateien) die nicht von mir selbst eingescannt wurden, stammen aus öffentlichen, nichtkommerziellen Quellen. Sollte ein Problem existieren bitte ich um direkte RĂŒcksprache đš Probleme mit einem Datenblatt klĂ€ren
đ Bilder der Röhre: RL2,4P2

Röhre RL2,4P2 #0071 Bild 1

Röhre RL2,4P2 #0071 Bild 2

Röhre RL2,4P2 #0071 Bild 3

Röhre RL2,4P2 #0071 Bild 4

Röhre RL2,4P2 #0071 Fassung Bild 1

Röhre RL2,4P2 #0071 Fassung Bild 2

Röhre RL2,4P2 #0071 Fassung Bild 3

Röhre RL2,4P2 #0071 Fassung Bild 4

Röhre RL2,4P2 #0071 Fassung Bild 5

Röhre RL2,4P2 #0071 Fassung Bild 6

Röhre RL2,4P2 #0071 Fassung Bild 7

Röhre RL2,4P2 #0071 Fassung Bild 8

Röhre RL2,4P2 #0071 Fassung Bild 9

Röhre RL2,4P2 #0071 Fassung Bild 10

Röhre RL2,4P2 #0071 Fassung Bild 11
đ Alle Röhren vom Typ RL2,4P2 in der Sammlung
- â RL2,4P2 Inventar: 00071 Hersteller: â Lorenz
